产品概述
WFB无密封自控自吸泵(高压大功率),为江苏宇联机械集团有限公司研发生产。江苏联机械制造有限公司泵类产品有螺杆泵,单螺杆泵,料斗式螺杆泵,立式螺杆泵,单螺杆泵,G型螺杆泵,LG型螺杆泵,卫生级螺杆泵,长轴液下泵,耐磨液下泵,脱硫泵,自吸离心泵,磁力化工泵,强制循环泵生产厂家,钛合金强制循环泵,fjx强制循环泵,耐腐耐磨液下泵,石油化工流程泵。产品主要应用于石油、化工、造纸、火电、冶金、制药、食品、军工等领域,是中国石化、中国石油的供应商。
产品详情
一、产品概述
WFB系列无密封自控自吸泵,是填补国内空白的首创产品,该产品具有耐温耐压、“一次引流”、“终生自吸”等多种功能。目前生产321、304、 316、316L、A3、PP(增强聚丙烯)等多种材质的系列整机,五种不同造型共一千余种规格。在电子、电力、化工、冶金、医药、食品、电镀、环保、消防、市政、净水、国防军工、纺织印染、采掘选矿、民用建筑等行业中广泛适用,深受用户的好评。
二、独特优点
1、采用“泵用连环式多面离心密封装置”,革除了传统水泵的填料密封、盘根密封、机械密封、彻底制服了“跑、冒、滴、漏”,是替代各种长轴液下泵、潜水泵等最理想的设备。
2、运行过程中密封装置不摩擦,无麿损,使用寿命较同类产品长10倍以上。
3、移植真空泵原理,自吸性能稳定可靠,特别是采用“电动空气控制阀”,真正实现了“一次引流,终生自吸”。
4、振动小,噪音低,移动灵活,拆卸简便、易于安装,不需地脚固定。
5、具有优越的自控功能,可与高科技领域和高度自动化系统配套使用。
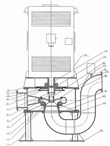
三、结构示意图
1.立柱,2.锁紧并帽,3.工作叶轮,4.泵壳连接座,5.蜗壳,6.泵轴,7.锁紧并帽,8.密封轮盖板,9.密封座,10.密封叶轮,11.泵壳出口法兰,12.支架,13.电机,14.联轴器,15.垫片A,16.垫片B,17.电动空气阀,18.耐磨环,19.泵壳进口法兰,20.泵体,21.锥体,22.泵壳吸口法兰,23.泵壳连接板,24.底板。
四、型号意义
50WFB-AD1
50——泵进口口径(mm)
WFB——无密封自控自吸泵
AD1——性能分类
水泵的法兰采用中华人民共和国国家标准制造。标准代号GB9115.2-88;GB9115.3-88。非金属材质水泵的法兰压力0.6MPa;金属材质水泵的法兰压力1.0MPa。本公司水泵出厂时,进出液口配一只反法兰。
五、WFB自吸泵性能参数表
| 材质代号 material code | 型号 type | 转速 speed | 流量 Q capacity | 扬程 head | 配套功率 matching power | 允许吸深 permissible suctioned depth | 吸液口径 diameter of inlet | 出液口径 diameter of outler | 整机重量 weight |
| r/min | m3/h | M | kw | ≤M | MM | MM | kg | ||
| T.G.PP.BXG | 16WFB-A | 2900 | 0.75 | 8 | 0.75 | 2.5 | 16 | 10 | 75 |
| 1.1 | 6.5 | ||||||||
| 1.5 | 5.5 | ||||||||
| T.G.PP.BXG | 32WFB-A | 2900 | 4.5 | 13 | 1.5 | 3 | 32 | 25 | 99 |
| 6.5 | 10.5 | ||||||||
| 9 | 8 | ||||||||
| T.G.PP.BXG | 40WFB-A | 2900 | 6.5 | 25 | 4 | 4 | 40 | 32 | 140 |
| 8.5 | 23 | ||||||||
| 10 | 21 | ||||||||
| T.G.PP.BXG | 40WFB-A1 | 2900 | 13.5 | 18 | 3 | 4 | 40 | 32 | 140 |
| 5 | 15 | ||||||||
| 8 | 13 | ||||||||
| T.G.PP.BXG | 40WFB-A2 | 2900 | 10 | 11 | 2.2 | 4 | 40 | 32 | 125 |
| 14 | 8 | ||||||||
| T.G.PP.BXG | 50WFB-A | 2900 | 7.5 | 28 | 5.5 | 5 | 50 | 40 | 205 |
| 12.5 | 26 | ||||||||
| 15 | 24.5 | ||||||||
| T.G.PP.BXG | 50WFB-A1 | 2900 | 10.5 | 20.5 | 3 | 5 | 50 | 40 | 170 |
| T.G.PP.BXG | 50WFB-AD | 1450 | 5 | 11 | 1.5 | 4 | 50 | 40 | 149 |
| 6.3 | 10 | ||||||||
| 7.5 | 9 | ||||||||
| T.G.PP.BXG | 50WFB-AD1 | 1450 | 10 | 6 | 1.5 | 4 | 50 | 40 | 149 |
| T.G.BXG | 50WFB-B | 2900 | 10 | 40 | 11 | 5 | 50 | 40 | 215 |
| 11 | 38 | ||||||||
| 15 | 35 | ||||||||
| T.G.PP.BXG | 50WFB-B1 | 2900 | 7 | 33 | 7.5 | 5 | 50 | 40 | 205 |
| 12 | 31 | ||||||||
| 15 | 29 | ||||||||
| T.G.PP.BXG | 50WFB-B2 | 2900 | 10 | 26.5 | 4 | 5 | 50 | 40 | 185 |
| T.G.PP.BXG | 50WFB-B3 | 2900 | 5 | 15 | 2.2 | 4 | 50 | 40 | 150 |
| 6.4 | 14 | ||||||||
| 7.5 | 12.5 | ||||||||
| T.G.BXG | 50WFB-C | 2900 | 8.5 | 58 | 15 | 5 | 50 | 40 | 240 |
| 12 | 56 | ||||||||
| 15 | 54 | ||||||||
| T.G.BXG | 50WFB-C1 | 2900 | 11 | 46 | 7.5 | 5 | 50 | 40 | 215 |
| 10 | 40 | ||||||||
| T.G.PP.BXG | 50WFB-CD | 1450 | 5 | 19 | 3 | 4 | 50 | 40 | 170 |
| 6 | 18 | ||||||||
| 8 | 17 | ||||||||
| T.G.BXG | 50WFB-E | 2900 | 7.5 | 82 | 22 | 5 | 50 | 40 | 260 |
| 12 | 80 | ||||||||
| 15 | 75 | ||||||||
| T.G.BXG | 50WFB-E1 | 2900 | 12 | 68 | 18.5 | 5 | 50 | 40 | 250 |
| 11 | 62 | ||||||||
| 10 | 55 | ||||||||
| T.G.PP.BXG | 50WFB-E2 | 2900 | 3.5 | 26 | 3 | 4 | 50 | 40 | 170 |
| T.G.PP.BXG | 65WFB-A | 2900 | 15 | 27 | 7.5 | 4 | 65 | 50 | 260 |
| 20 | 26 | ||||||||
| 25 | 24 | ||||||||
| T.G.PP.BXG | 65WFB-A1 | 2900 | 21 | 20 | 5.5 | 4 | 65 | 50 | 260 |
| T.G.PP.BXG | 65WFB-AD | 1450 | 7 | 12 | 3 | 4 | 65 | 50 | 200 |
| 12 | 11 | ||||||||
| 15 | 9 | ||||||||
| T.G.BXG | 65WFB-B | 2900 | 15 | 41 | 11 | 5 | 65 | 50 | 270 |
| 25 | 38 | ||||||||
| 30 | 36 | ||||||||
| T.G.PP.BXG | 65WFB-B1 | 2900 | 20 | 26 | 7.5 | 5 | 65 | 50 | 250 |
| T.G.PP.BXG | 65WFB-BD | 1450 | 10 | 16 | 4 | 5 | 65 | 50 | 230 |
| 12 | 14 | ||||||||
| 15 | 13 | ||||||||
| T.G.BXG | 65WFB-C | 2900 | 15 | 58 | 18.5 | 5 | 65 | 50 | 280 |
| 25 | 56 | ||||||||
| 30 | 52 | ||||||||
| T.G.BXG | 65WFB-C1 | 2900 | 22 | 45 | 15 | 5 | 65 | 50 | 265 |
| T.G.PP.BXG | 65WFB-C2 | 2900 | 7.5 | 19 | 4 | 5 | 65 | 50 | 240 |
| 12.5 | 18 | ||||||||
| 15 | 17 | ||||||||
| T.G.BXG | 65WFB-E | 2900 | 15 | 82 | 30 | 5 | 65 | 50 | 450 |
| 25 | 80 | ||||||||
| 30 | 78 | ||||||||
| T.G.BXG | 65WFB-E1 | 2900 | 21 | 64 | 18.5 | 5 | 65 | 50 | 340 |
| 20 | 55 | ||||||||
| T.G.PP.BXG | 65WFB-E2 | 2900 | 7.5 | 27.5 | 7.5 | 5 | 65 | 50 | 280 |
| 12.5 | 26 | ||||||||
| 15 | 24.5 | ||||||||
| T.G.BXG | 65WFB-F | 2900 | 15 | 127 | 45 | 5 | 65 | 50 | 485 |
| 25 | 125 | ||||||||
| 30 | 123 | ||||||||
| T.G.BXG | 65WFB-F1 | 2900 | 18 | 108 | 45 | 5 | 65 | 50 | 485 |
| 21.5 | 95 | ||||||||
| 23.5 | 85 | ||||||||
| T.G.BXG | 65WFB-F2 | 2900 | 7.5 | 38 | 7.5 | 5 | 65 | 50 | 270 |
| 12.5 | 37 | ||||||||
| 15 | 36 | ||||||||
| T.G.BXG | 65WFB-F3 | 2900 | 10 | 34 | 5.5 | 5 | 65 | 50 | 260 |
| 9 | 30 | ||||||||
| 8 | 26 | ||||||||
| T.G.PP.BXG | 80WFB-A | 2900 | 30 | 28 | 11 | 6 | 80 | 65 | 380 |
| 50 | 26 | ||||||||
| 60 | 24 | ||||||||
| 70 | 20 | ||||||||
| T.G.PP.BXG | 80WFB-AD | 2900 | 15 | 11.5 | 4 | 4 | 80 | 65 | 305 |
| 25 | 11 | ||||||||
| 30 | 10.5 | ||||||||
| 38 | 9 |
| 材质代号 material code | 型号 type | 转速 speed | 流量 Q capacity | 扬程 head | 配套功率 matching power | 允许吸深 permissible suctioned depth | 吸液口径 diameter of inlet | 出液口径 diameter of outler | 整机重量 weight |
| r/min | m3/h | M | kw | ≤M | MM | MM | kg | ||
| T.G.BXG | 80WFB-B | 2900 | 40 | 40 | 15 | 5 | 80 | 65 | 395 |
| 50 | 38 | ||||||||
| 60 | 35 | ||||||||
| 65 | 28 | ||||||||
| T.G.PP.BXG | 80WFB-BD | 1450 | 15 | 15 | 5.5 | 5 | 80 | 65 | 340 |
| 25 | 14 | ||||||||
| 30 | 13 | ||||||||
| 35 | 11 | ||||||||
| T.G.BXG | 80WFB-C | 2900 | 30 | 59 | 22 | 5 | 80 | 65 | 460 |
| 50 | 55 | ||||||||
| 60 | 52 | ||||||||
| T.G.BXG | 80WFB-C1 | 2900 | 45 | 46 | 15 | 5 | 80 | 65 | 400 |
| 40 | 38 | ||||||||
| T.G.PP.BXG | 80WFB-C2 | 2900 | 15 | 19 | 7.5 | 5 | 80 | 65 | 320 |
| 25 | 18 | ||||||||
| 30 | 17 | ||||||||
| T.G.PP.BXG | 80WFB-CD | 1450 | 21 | 14 | 5.5 | 5 | 80 | 65 | 340 |
| 25 | 12 | ||||||||
| T.G.BXG | 80WFB-E | 2900 | 30 | 84 | 37 | 5 | 80 | 65 | 480 |
| 50 | 80 | ||||||||
| 60 | 76 | ||||||||
| T.G.BXG | 80WFB-E1 | 2900 | 30 | 60 | 18.5 | 5 | 80 | 65 | 400 |
| 40 | 50 | ||||||||
| T.G.PP.BXG | 80WFB-E2 | 2900 | 15 | 27 | 11 | 5 | 80 | 65 | 380 |
| 25 | 26 | ||||||||
| 30 | 24 | ||||||||
| T.G.PP.BXG | 80WFB-E3 | 2900 | 22 | 22 | 5.5 | 5 | 80 | 65 | 300 |
| 20 | 18 | ||||||||
| T.G.BXG | 80WFB-F | 2900 | 30 | 128 | 55 | 5 | 80 | 65 | 580 |
| 50 | 125 | ||||||||
| 60 | 120 | ||||||||
| T.G.BXG | 80WFB-F1 | 2900 | 26 | 103 | 45 | 5 | 80 | 65 | 530 |
| 30 | 95 | ||||||||
| 40 | 80 | ||||||||
| T.G.BXG | 80WFB-F2 | 2900 | 15 | 38 | 11 | 5 | 80 | 65 | 380 |
| 25 | 36 | ||||||||
| 30 | 35 | ||||||||
| T.G.BXG | 80WFB-F3 | 2900 | 21 | 34 | 11 | 5 | 80 | 65 | 380 |
| 23 | 30 | ||||||||
| 26 | 26 | ||||||||
| T.G.PP.BXG | 100WFB-A | 2900 | 60 | 30 | 18.5 | 5 | 100 | 80 | 560 |
| 100 | 26 | ||||||||
| 110 | 22 | ||||||||
| 120 | 20 | ||||||||
| T.G.PP.BXG | 100WFB-AD | 1450 | 30 | 12 | 7.5 | 5 | 100 | 80 | 450 |
| 40 | 11 | ||||||||
| 50 | 10 | ||||||||
| 60 | 9 | ||||||||
| T.G.BXG | 100WFB-B | 2900 | 60 | 40 | 22 | 5 | 100 | 80 | 580 |
| 80 | 36 | ||||||||
| 100 | 32 | ||||||||
| 120 | 28 | ||||||||
| T.G.PP.BXG | 100WFB-BD | 1450 | 30 | 15 | 11 | 5 | 100 | 80 | 520 |
| 40 | 14 | ||||||||
| 50 | 13 | ||||||||
| 68 | 11 | ||||||||
| T.G.BXG | 100WFB-C | 2900 | 45 | 55 | 37 | 5 | 100 | 80 | 630 |
| 80 | 48 | ||||||||
| 100 | 45 | ||||||||
| T.G.BXG | 100WFB-C1 | 2900 | 75 | 40 | 30 | 5 | 100 | 80 | 605 |
| 85 | 35 | ||||||||
| T.G.BXG | 100WFB-C2 | 2900 | 40 | 20 | 11 | 5 | 100 | 80 | 520 |
| 50 | 19 | ||||||||
| 60 | 18 | ||||||||
| T.G.BXG | 100WFB-C3 | 2900 | 40 | 16 | 7.5 | 5 | 100 | 80 | 500 |
| 45 | 15 | ||||||||
| T.G.BXG | 100WFB-E | 2900 | 60 | 87 | 55 | 5 | 100 | 80 | 720 |
| 80 | 80 | ||||||||
| 100 | 75 | ||||||||
| T.G.BXG | 100WFB-E1 | 2900 | 80 | 60 | 45 | 5 | 100 | 80 | 680 |
| 100 | 51 | ||||||||
| T.G.PP.BXG | 100WFB-E2 | 2900 | 30 | 26 | 11 | 5 | 100 | 80 | 530 |
| 50 | 25 | ||||||||
| 55 | 24 | ||||||||
| T.G.PP.BXG | 100WFB-E3 | 2900 | 62 | 22 | 11 | 5 | 100 | 80 | 530 |
| 58 | 18 | ||||||||
| T.G.BXG | 100WFB-F | 2900 | 60 | 133 | 90 | 5 | 100 | 80 | 965 |
| 80 | 125 | ||||||||
| 100 | 120 | ||||||||
| T.G.BXG | 100WFB-F1 | 2900 | 80 | 108 | 75 | 5 | 100 | 80 | 820 |
| 90 | 90 | ||||||||
| 100 | 80 | ||||||||
| T.G.BXG | 100WFB-F2 | 2900 | 30 | 40 | 15 | 5 | 100 | 80 | 550 |
| 50 | 38 | ||||||||
| 60 | 36 | ||||||||
| T.G.PP.BXG | 100WFB-F3 | 2900 | 46 | 23 | 11 | 5 | 100 | 80 | 530 |
| 43 | 29 | ||||||||
| 40 | 26 | ||||||||
| T.G.BXG | 125WFB-A | 2900 | 100 | 55 | 55 | 5 | 125 | 100 | 900 |
| 150 | 50 | ||||||||
| 180 | 45 | ||||||||
| T.G.BXG | 125WFB-A1 | 2900 | 170 | 40 | 45 | 5 | 125 | 100 | 860 |
| 185 | 30 | ||||||||
| T.G.PP.BXG | 125WFB-A2 | 2900 | 70 | 20 | 15 | 5 | 125 | 100 | 720 |
| 80 | 19 | ||||||||
| 100 | 17 | ||||||||
| T.G.PP.BXG | 125WFB-AD | 1450 | 105 | 16 | 15 | 5 | 125 | 100 | 740 |
| 110 | 15 |
| 材质代号 material code | 型号 type | 转速 speed | 流量 Q capacity | 扬程 head | 配套功率 matching power | 允许吸深 permissible suctioned depth | 吸液口径 diameter of inlet | 出液口径 diameter of outler | 整机重量 weight |
| r/min | m3/h | M | kw | ≤M | MM | MM | kg | ||
| T.G.BXG | 125WFB-B | 2900 | 120 | 86 | 110 | 5 | 125 | 100 | 1150 |
| 200 | 80 | ||||||||
| 240 | 72 | ||||||||
| T.G.BXG | 125WFB-B1 | 2900 | 150 | 65 | 75 | 5 | 125 | 100 | 1005 |
| 170 | 60 | ||||||||
| T.G.PP.BXG | 125WFB-B2 | 2900 | 80 | 26 | 22 | 5 | 125 | 100 | 760 |
| 100 | 25 | ||||||||
| 120 | 24 | ||||||||
| T.G.PP.BXG | 125WFB-B3 | 2900 | 85 | 22 | 18.5 | 5 | 125 | 100 | 730 |
| 90 | 20 | ||||||||
| T.G.BXG | 125WFB-C | 2900 | 160 | 132 | 160 | 5 | 125 | 100 | 1580 |
| 180 | 125 | ||||||||
| 200 | 120 | ||||||||
| T.G.BXG | 125WFB-C1 | 2900 | 180 | 108 | 110 | 5 | 125 | 100 | 1270 |
| 190 | 93 | ||||||||
| 208 | 80 | ||||||||
| T.G.BXG | 125WFB-C2 | 2900 | 80 | 40 | 30 | 5 | 125 | 100 | 790 |
| 100 | 38 | ||||||||
| 120 | 36.5 | ||||||||
| T.G.PP.BXG | 125WFB-C3 | 2900 | 92 | 23 | 18.5 | 5 | 125 | 100 | 750 |
| 85 | 26 | ||||||||
| 80 | 29 | ||||||||
| T.G.BXG | 125WFB-E | 2900 | 70 | 52 | 37 | 5 | 125 | 100 | 820 |
| 90 | 50 | ||||||||
| 110 | 48 | ||||||||
| T.G.BXG | 125WFB-E1 | 2900 | 90 | 45 | 30 | 5 | 125 | 100 | 790 |
| 95 | 40 | ||||||||
| T.G.BXG | 125WFB-E2 | 2900 | 85 | 36 | 22 | 5 | 125 | 100 | 770 |
| T.G.BXG | 150WFB-A | 2900 | 120 | 28 | 30 | 5 | 150 | 125 | 990 |
| 185 | 26 | ||||||||
| 200 | 23.5 | ||||||||
| 240 | 22.5 | ||||||||
| T.G.BXG | 150WFB-AD | 1450 | 160 | 20 | 22 | 5 | 150 | 125 | 960 |
| T.G.BXG | 150WFB-B | 2900 | 156 | 40 | 45 | 5 | 150 | 125 | 1060 |
| 180 | 36 | ||||||||
| 225 | 30 | ||||||||
| T.G.BXG | 150WFB-BD | 1450 | 220 | 29 | 45 | 5 | 150 | 125 | 1080 |
| 260 | 25 | ||||||||
| T.G.BXG | 150WFB-B1 | 2900 | 160 | 34 | 37 | 5 | 150 | 125 | 1020 |
| 180 | 29 | ||||||||
| 195 | 26 | ||||||||
| T.G.BXG | 150WFB-BD1 | 1450 | 120 | 55 | 75 | 5 | 150 | 125 | 1205 |
| 200 | 50 | ||||||||
| 240 | 45 | ||||||||
| T.G.BXG | 150WFB-C | 2900 | 180 | 45 | 55 | 5 | 150 | 125 | 1100 |
| 190 | 38 | ||||||||
| T.G.BXG | 150WFB-C1 | 2900 | 165 | 36 | 37 | 5 | 150 | 125 | 1020 |
| T.G.BXG | 200WFB-AD | 1450 | 250 | 26.5 | 55 | 5 | 200 | 150 | 145 |
| 400 | 25 | ||||||||
| 450 | 23.5 | ||||||||
| T.G.BXG | 200WFB-AD1 | 1450 | 360 | 22 | 45 | 5 | 200 | 150 | 1375 |
| T.G.BXG | 200WFB-AD2 | 1450 | 330 | 19 | 37 | 5 | 200 | 150 | 1335 |
| T.G.BXG | 200WFB-BD | 1450 | 240 | 42 | 75 | 5 | 200 | 150 | 1520 |
| 350 | 37 | ||||||||
| 420 | 33.5 | ||||||||
| T.G.BXG | 200WFB-BD1 | 1450 | 340 | 28.5 | 55 | 5 | 200 | 150 | 1415 |
| T.G.BXG | 200WFB-BD2 | 1450 | 310 | 25 | 45 | 5 | 200 | 150 | 1375 |
| 380 | 18 | ||||||||
| 450 | 13 | ||||||||
| 520 | 10 | ||||||||
| T.G.BXG | 200WFB-CD | 1450 | 280 | 55 | 110 | 5 | 200 | 150 | 1790 |
| 380 | 50 | ||||||||
| 420 | 45 | ||||||||
| T.G.BXG | 200WFB-CD1 | 1450 | 360 | 45 | 90 | 5 | 200 | 150 | 1660 |
| T.G.BXG | 200WFB-CD2 | 1450 | 330 | 40 | 75 | 5 | 200 | 150 | 1520 |
| 350 | 36 | ||||||||
| T.G.BXG | 250WFB-AD | 1450 | 300 | 26.5 | 55 | 5 | 250 | 200 | 1556 |
| 380 | 25 | ||||||||
| 500 | 23.5 | ||||||||
| T.G.BXG | 250WFB-AD1 | 1450 | 600 | 13 | 45 | 5 | 250 | 200 | 1450 |
| 880 | 8 | ||||||||
| T.G.BXG | 250WFB-AD2 | 1450 | 340 | 35 | 75 | 5 | 250 | 200 | 1660 |
| 400 | 33 | ||||||||
| 450 | 31 | ||||||||
| T.G.BXG | 250WFB-AD3 | 1450 | 500 | 28.5 | 75 | 5 | 250 | 200 | 1660 |
| 600 | 22.5 | ||||||||
| 720 | 18 | ||||||||
| T.G.BXG | 250WFB-BD | 1450 | 350 | 45 | 90 | 5 | 250 | 200 | 1800 |
| 380 | 40 | ||||||||
| 450 | 37 | ||||||||
| T.G.BXG | 250WFB-BD1 | 1450 | 300 | 50 | 90 | 5 | 250 | 200 | 1800 |
| 350 | 47 | ||||||||
| 380 | 45 | ||||||||
| T.G.BXG | 250WFB-BD2 | 1450 | 200 | 57.5 | 90 | 5 | 250 | 200 | 1800 |
| 260 | 55 | ||||||||
| 290 | 52.5 | ||||||||
| T.G.BXG | 250WFB-BD3 | 1450 | 480 | 30 | 90 | 5 | 250 | 200 | 1800 |
| 628 | 24.5 | ||||||||
| 800 | 20 | ||||||||
| T.G.BXG | 300WFB-AD | 1450 | 500 | 26.5 | 90 | 5 | 300 | 250 | 1880 |
| 550 | 25 | ||||||||
| 600 | 23.5 | ||||||||
| T.G.BXG | 300WFB-AD1 | 1450 | 400 | 42 | 90 | 5 | 300 | 250 | 1988 |
| 420 | 35 | ||||||||
| 460 | 33 | ||||||||
| 500 | 31 | ||||||||
| T.G.BXG | 300WFB-AD2 | 1450 | 750 | 30 | 132 | 5 | 300 | 250 | 2058 |
| 960 | 25 | ||||||||
| 1255 | 18 |
| 材质代号 material code | 型号 type | 转速 speed | 流量 Q capacity | 扬程 head | 配套功率 matching power | 允许吸深 permissible suctioned depth | 吸液口径 diameter of inlet | 出液口径 diameter of outler | 整机重量 weight |
| r/min | m3/h | M | kw | ≤M | MM | MM | kg | ||
| T.G.BXG | 300WFB-AD3 | 1450 | 350 | 50 | 110 | 5 | 300 | 250 | 2280 |
| 400 | 47.5 | ||||||||
| 450 | 45 | ||||||||
| T.G.BXG | 300WFB-BD | 1450 | 250 | 57.5 | 110 | 5 | 300 | 250 | 2280 |
| 320 | 55 | ||||||||
| 345 | 52.5 | ||||||||
| T.G.BXG | 300WFB-BD1 | 1450 | 678 | 55 | 200 | 5 | 300 | 250 | 2480 |
| 780 | 47.5 | ||||||||
| T.G.BXG | 300WFB-BD2 | 1450 | 900 | 30 | 160 | 5 | 300 | 250 | 2388 |
| 740 | 40 | ||||||||
| 590 | 50 | ||||||||
| T.G.BXG | 300WFB-BD3 | 1450 | 600 | 57 | 185 | 5 | 300 | 250 | 2400 |
| 750 | 45 | ||||||||
| 850 | 40 | ||||||||
| 978 | 35 | ||||||||
| T.G.BXG | 300WFB-CD | 1450 | 860 | 42.5 | 200 | 5 | 300 | 250 | 2480 |
| T.G.BXG | 300WFB-CD1 | 1450 | 700 | 57.5 | 220 | 5 | 300 | 250 | 2508 |
| 780 | 52 | ||||||||
| 890 | 45 | ||||||||
| T.G.BXG | 350WFB-AD | 1450 | 550 | 56.5 | 90 | 5 | 350 | 300 | 2500 |
| 600 | 25 | ||||||||
| 790 | 23.5 | ||||||||
| T.G.BXG | 350WFB-AD1 | 1450 | 580 | 35 | 145 | 5 | 350 | 300 | 2780 |
| 690 | 33 | ||||||||
| 820 | 31 | ||||||||
| T.G.BXG | 350WFB-AD2 | 1450 | 450 | 42.5 | 110 | 5 | 350 | 300 | 2630 |
| 500 | 40 | ||||||||
| 550 | 37.5 | ||||||||
| T.G.BXG | 350WFB-AD3 | 1450 | 500 | 50 | 145 | 5 | 350 | 300 | 2785 |
| 535 | 47.5 | ||||||||
| 590 | 45 | ||||||||
| T.G.BXG | 350WFB-BD | 1450 | 306 | 57.5 | 110 | 5 | 350 | 300 | 2630 |
| 356 | 55 | ||||||||
| 400 | 52 | ||||||||
| T.G.BXG | 350WFB-BD1 | 1450 | 840 | 55 | 250 | 5 | 350 | 300 | 2785 |
| 950 | 48 | ||||||||
| 1200 | 40 | ||||||||
| T.G.BXG | 350WFB-BD2 | 1450 | 886 | 57.5 | 280 | 5 | 350 | 300 | 3088 |
| 980 | 52.5 | ||||||||
| 1186 | 45 | ||||||||
| T.G.BXG | 350WFB-BD3 | 1450 | 860 | 42 | 200 | 5 | 350 | 300 | 2508 |
| 1050 | 35 | ||||||||
| 1180 | 32 | ||||||||
| T.G.BXG | 350WFB-CD | 1450 | 1200 | 35 | 220 | 5 | 350 | 300 | 2688 |
| 1320 | 32 | ||||||||
| T.G.BXG | 350WFB-CD1 | 1450 | 1156 | 40 | 250 | 5 | 350 | 300 | 2886 |
| 1280 | 35 | ||||||||
| T.G.BXG | 350WFB-CD2 | 1450 | 1128 | 45 | 280 | 5 | 350 | 300 | 3080 |
| 1050 | 50 | ||||||||
| T.G.BXG | 350WFB-CD3 | 1450 | 1000 | 57.5 | 315 | 5 | 350 | 300 | 3285 |
| 1200 | 50 | ||||||||
| T.G.BXG | 350WFB-ED | 1450 | 900 | 30 | 160 | 5 | 350 | 300 | 2380 |
| 1096 | 25 | ||||||||
| T.G.BXG | 350WFB-ED1 | 1450 | 1140 | 30 | 200 | 5 | 350 | 300 | 2600 |
| 1370 | 25 | ||||||||
| T.G.BXG | 400WFB-AD | 1450 | 1850 | 15 | 160 | 5 | 400 | 350 | 2860 |
| 1520 | 18 | ||||||||
| 1450 | 20 | ||||||||
| T.G.BXG | 400WFB-AD1 | 1450 | 1680 | 10 | 90 | 5 | 400 | 350 | 2150 |
| T.G.BXG | 400WFB-AD2 | 1450 | 1600 | 8 | 75 | 5 | 400 | 350 | 1800 |
| T.G.BXG | 400WFB-AD3 | 1450 | 2050 | 5 | 55 | 5 | 400 | 350 | 1750 |
| T.G.BXG | 400WFB-BD | 1450 | 1700 | 20 | 185 | 5 | 400 | 350 | 2500 |
| 2085 | 15 | ||||||||
| T.G.BXG | 400WFB-BD1 | 1450 | 1600 | 22.5 | 200 | 5 | 400 | 350 | 2650 |
| 2000 | 18 | ||||||||
| T.G.BXG | 400WFB-BD2 | 1450 | 2226 | 20 | 250 | 5 | 400 | 350 | 2880 |
| 1880 | 25 | ||||||||
| T.G.BXG | 400WFB-BD3 | 1450 | 1700 | 30 | 280 | 5 | 400 | 350 | 2980 |
| 2506 | 20 | ||||||||
| T.G.BXG | 400WFB-CD | 1450 | 2308 | 8 | 110 | 5 | 400 | 350 | 2650 |
| T.G.BXG | 400WFB-CD1 | 1450 | 1880 | 12 | 132 | 5 | 400 | 350 | 2750 |
| T.G.BXG | 400WFB-CD2 | 1450 | 2280 | 12 | 160 | 5 | 400 | 350 | 2860 |
| T.G.BXG | 400WFB-CD3 | 1450 | 1905 | 18 | 200 | 5 | 400 | 350 | 2850 |
| T.G.BXG | 450WFB-AD | 1450 | 1650 | 35 | 315 | 5 | 450 | 400 | 3250 |
| 2880 | 20 | ||||||||
| T.G.BXG | 450WFB-AD1 | 1450 | 2890 | 5 | 90 | 5 | 450 | 400 | 2650 |
| T.G.BXG | 450WFB-BD | 1450 | 2825 | 8 | 132 | 5 | 450 | 400 | 2880 |
| T.G.BXG | 450WFB-BD1 | 1450 | 2825 | 12 | 200 | 5 | 450 | 400 | 2968 |
| T.G.BXG | 600WFB-AD | 1450 | 3400 | 8 | 160 | 5 | 600 | 450 | 3080 |
| T.G.BXG | 600WFB-BD | 1450 | 4280 | 8 | 200 | 5 | 600 | 450 | 3080 |
| T.G.BXG | 600WFB-CD | 1450 | 4020 | 5 | 110 | 5 | 600 | 450 | 2850 |
| T.G.BXG | 800WFB-AD | 1450 | 4520 | 5 | 132 | 5 | 800 | 600 | 3280 |
| 5480 | 5 | ||||||||
| T.G.BXG | 800WFB-CD | 1450 | 6850 | 5 | 200 | 5 | 800 | 600 | 3380 |